管道泵在安裝的時候有些人不知道怎么區分進水口和出水口,就會出現安裝方向不對,導致水壓不夠的問題。那么要怎么區分管道泵的出水口和進水口呢?
一、一般管道泵都是有標識的,在泵體或者底座上的箭頭指向就是管道泵的出水口,剩余的那個就是進水口。
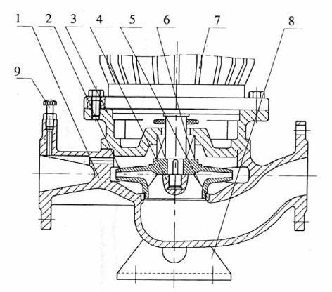
二、觀察結構,越靠近底座的就是進水口,如下圖右邊方向就越靠近底座,這就是進水口,水流進去被葉輪(2指向)吸入然后甩出去就到了出水口從而進入管路。

三、一般管道泵出水口有銅質排氣閥,用于排氣或者安裝其他傳感器用途,帶有這個部件的就是出水口。如果你還是不能辨別,請聯系我們尋求技術支持。
手機號:13968963669
13706783559?
電話:021-33897881
傳真:021-33897881
地址:上海市松江區葉榭鎮富成路896號