本實用新型涉及水泵制造領域,尤其涉及一種循環管道泵。
背景技術:
管道泵主要是利用離心力將水輸送出去。管道泵一般具有增壓和循環兩個作用。管道泵在工作前需要與管道進行連接,且管道泵在使用時,容易產生較大的震動。但現有的循環管道泵多不具有支撐管道的功能,管道結構缺少支撐、無固定點,容易出現震動,這會對連接管道的輸送性能等均產生一定的影響。
技術實現要素:
本實用新型所要解決的技術問題在于克服上述問題,而提供一種帶有管道支撐組件的循環管道泵,能夠用于固定支撐泵體上外接的各個管道。
本實用新型的技術方案是:
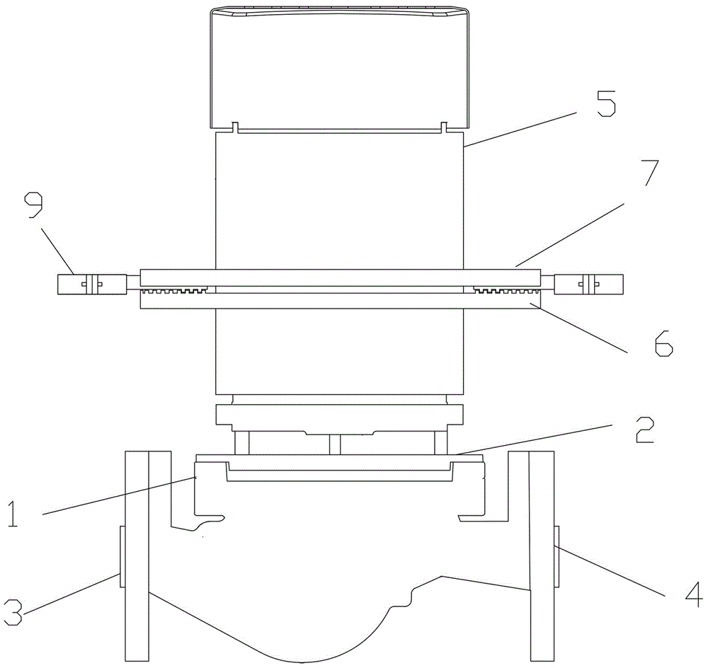
本實用新型所述的一種循環管道泵,包括泵殼、泵蓋和電機,所述泵殼的左右兩側分別開設有進水口與出水口且進水口和出水口的中心軸線均與水平線平行,所述泵殼上方蓋合有泵蓋,所述電機呈豎直狀連接在泵殼上方,其特征在于:所述電機的外周壁上安裝有一個管道支撐組件,所述管道支撐組件包括沿軸向依次套設在電機外的旋轉盤、固定盤,所述固定盤與電機固定連接,旋轉盤與電機之間軸向固定、周向可轉動連接;所述固定盤上沿徑向開設有不少于兩個滑槽,所述滑槽內一一對應滑移連接有滑塊,所述滑塊的外端設有用于固定管道的支撐環扣;所述旋轉盤朝向固定盤的端面上設有平面螺紋槽,所述滑塊朝向旋轉盤的端面設有與平面螺紋槽相適配的平面螺紋牙,所述平面螺紋牙與平面螺紋槽嚙合連接,由此通過旋轉盤的旋轉使得滑塊沿旋轉盤徑向移動。
藉由上述結構,本實用新型對連接在泵體上的各個管道進行穩固支撐,消除振動傳遞,使得管道輸送過程不易晃動,且可通過平面螺紋牙與平面螺紋槽的配合實現各個支撐環扣相對電機的徑向距離調整,以保證其徑向伸出長度與管道安裝位置相匹配,便于安裝使用。
進一步地,在本實用新型所述的循環管道泵中,所述支撐環扣包括可對合呈圓環的兩個半圓環體,兩個半圓環的一端鉸接,另一端通過螺釘固定連接,便于管道安裝。
進一步地,在本實用新型所述的循環管道泵中,所述支撐環扣的內周面上設有橡膠墊,具有防滑、避免管道滑脫的作用。
進一步地,在本實用新型所述的循環管道泵中,所述平面螺紋槽的曲線為阿基米德螺旋線,可同步等距調節各個滑塊的徑向位置。
進一步地,在本實用新型所述的循環管道泵中,所述滑塊數量為兩個且兩個滑塊位于同一直線上,兩個支撐環扣分別用于支撐進水口和出水口處的連接管道。
本實用新型的有益效果是:
1、本實用新型結構簡單,設計合理,自帶管道支撐組件,可穩固支撐連接在泵體上的各個管道,確保管道整齊有序,防止管道輸送過程發生晃動等情況;
2、支撐環扣相對泵體的距離位置可調,適應于不同的管道安裝情況,使用更為靈活方便;
3、各個支撐環扣的徑向位置通過平面螺紋槽和平面螺紋牙的配合實現統一控制、同步變化,無需逐個調整,調節速度快,使用便利。
附圖說明
圖1為本實用新型的結構示意圖。
圖2為圖1的局部放大示意圖。
圖3為本實用新型所述旋轉盤的俯視示意圖。
圖4為本實用新型所述管道支撐組件的結構示意圖。
具體實施方式
現結合附圖對本實用新型作進一步的說明:

參照圖1-圖2所示,本實施例所述一種循環管道泵,包括泵殼1、泵蓋2和電機5,所述泵殼1的左右兩側分別開設有進水口3與出水口4且進水口3的中心和出水口4的中心軸線均與水平線平行,所述泵殼1上方蓋合有泵蓋2,所述電機5呈豎直狀連接在泵殼1上方。所述電機5的外周壁上安裝有一個管道支撐組件,所述管道支撐組件包括沿軸向依次套設在電機5外的旋轉盤6、固定盤7,所述固定盤7與電機5固定連接,旋轉盤6與電機5之間軸向固定、周向可轉動連接。結合圖4,所述固定盤7上沿徑向開設有不少于兩個滑槽701,所述滑槽701內一一對應滑移連接有滑塊8,所述滑塊8的外端設有用于固定管道的支撐環扣9,所述支撐環扣9包括可對合呈圓環的兩個半圓環體901,兩個半圓環901的一端鉸接,另一端通過螺釘固定連接,所述支撐環扣9的內周面上設有橡膠墊(圖中未畫出)。本實施例中,所述滑塊8數量為兩個且兩個滑塊8位于同一直線上。
本實施例所述旋轉盤6朝向固定盤7的端面上設有平面螺紋槽601,參照圖3,所述平面螺紋槽601的曲線為阿基米德螺旋線。所述滑塊8朝向旋轉盤6的端面設有與平面螺紋槽601相適配的平面螺紋牙801,所述平面螺紋牙801與平面螺紋槽601嚙合連接,由此通過旋轉盤6的旋轉使得滑塊8沿旋轉盤6徑向移動。
本文中所描述的具體實施例僅例示性說明本實用新型的原理及其功效,而非用于限制本實用新型。任何熟悉此技術的人士皆可在不違背本實用新型的精神及范疇下,對上述實施例進行修飾或改變。因此,但凡所屬技術領域中具有通常知識者在未脫離本實用新型所揭示的精神與技術思想下所完成的一切等效修飾或改變,仍應由本實用新型的權利要求所涵蓋。
手機號:13968963669
13706783559?
電話:021-33897881
傳真:021-33897881
地址:上海市松江區葉榭鎮富成路896號